
最快方案定型,价格从优
aag九游会登陆网站
公司地址:浙江省杭州市余杭区杭州未来研创园A座三楼
联系电话:18868733722
公司邮箱:1213331619@qq.com
作者:aag九游会登陆网站 发布时间:2023-07-27 10:04:01点击:4349
东田科普知识:医疗设备和电子产品受到严格监管,以确保患者安全。每个医疗电子设备都需要一组特定的认证,具体取决于计算机的物理环境、地理位置以及计算机/设备的应用或使用方式。
东田科普:2023最新医疗计算机认证解释
东田科普知识:医疗设备和电子产品受到严格监管,以确保患者安全。每个医疗电子设备都需要一组特定的认证,具体取决于计算机的物理环境、地理位置以及计算机/设备的应用或使用方式。最常见的认证是:
●IEC 60601
●UL 60601-1
●CE标志
●有害物质限制指令
●FCC 合规性
需要克服很多困难,有时可能需要数年时间才能获得认证。以下是与医疗计算机结合使用的标准认证的概述。许多医用计算机都具有以下认证。每个项目所需的认证程度差异很大。
什么是 IEC 60601?
IEC 60601 是最广泛使用和认可的医疗设备认证。IEC 代表国际电工委员会,该委员会于 1977 年发布了 IEC 60601 的版,并定期更新以跟上快速变化的医疗保健 IT 环境。IEC 60601 分为两部分:60601-1 规定了医疗电气设备的“基本安全和基本性能的一般要求”,而 60601-2 则确定了特殊要求。
两个部分中更关键的是60601-1。事实上,AAMI(医疗仪器促进协会)表示:“它已被整个行业称为医疗电气设备标准的‘圣经’。” IEC 60601-1 的最新修订版是 2015 年发布的第四版。
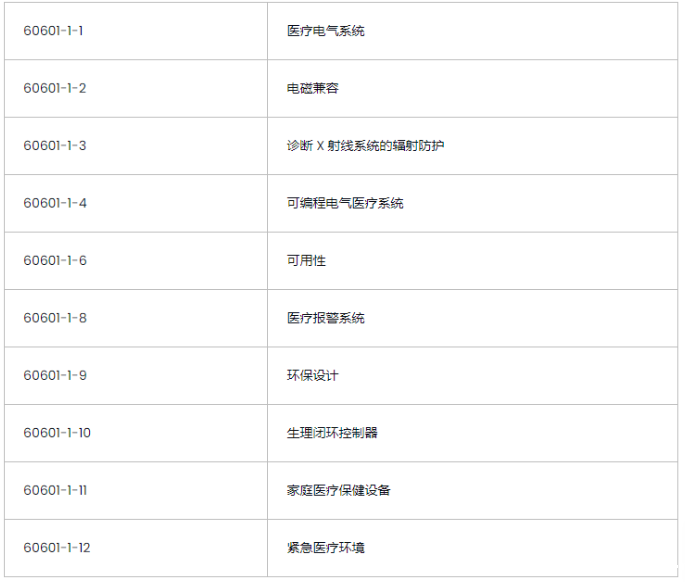
IEC 60601-1 第 4版 分为以下部分:

虽然IEC是国际公认的标准,但多个采用了自己的标准版本,其中一些与IEC完全相同,另一些则略有变化。例如,“加拿大标准第 6 条要求设备和随附文件中的安全说明以法语和英语书写。”
标准的命名因/地区而异:

什么是 UL 60601-1?

美国电子医疗设备测试标准是“所有与 IEC 60601-1 的偏差中最详细的”。UL 有几项独特的要求,例如要求聚合物材料处于一定的可燃性阈值(即耐燃烧)内。UL 还独特地“要求 X 射线设备外壳和相关设备在工作电压超过 600 V 交流、850 V 直流或 850 V 峰值的部件周围有一个接地外壳。”
美国标准被称为“UL”,因为采用 IEC 60601-1 的组织是保险商实验室公司 (UL)。UL 是美国职业安全与健康管理局 (OSHA) 认可的 20 个认可测试实验室 (NRTL) 之一。这些实验室在对医疗保健等多个行业使用的装置、设备和材料进行认证时遵守 OSHA 测试标准。
CE 标志是什么意思?
CE标志用于验证在欧洲经济区销售的产品的安全性,但它在国际上得到认可并在世界各地使用。这些字母“表明在欧洲经济区销售的产品已经过评估,符合安全、健康和环境保护的高要求。”
对于医疗器械,CE 标志表示该器械符合欧洲医疗器械指令规定的安全和性能要求。